AS Gailis 1P

AS Gailis 1P

Rotaļu laukumi

SIA “MK Dizains” ir Latvijas uzņēmums, kas ražo bērnu rotaļu laukumu iekārtas gan publiskajiem rotaļu laukumiem, gan rotaļu iekārtas privātmāju pagalmiem. Uzņēmumam ir sadarbība ar vairākiem ārzemju ražotājiem, kas piedāvā dažādus interesantus produktus ar ko papildināt ik vienu bērnu spēļu laukumu.Tie ir:Āra mūzikas instrumenti, gumijas zvēri no 3D program, Āra batuti, Asfalta spēles marķējumi, Drošības segumi un tajos iestrādātie 2D gumijas marķējumi.

SIA “MK Dizains” ražotais bērnu spēļu laukuma aprīkojums ir: bērnu šūpoles, atsperšūpoles ar dažādu tematiku, bērnu karuseļi, smilšukastes, smilšukastes pilsētiņas, rotaļu namiņi un tematiskie rotaļu laukumi mazajiem, dažāda augstuma slīdkalniņi, bērnu pilsētiņu kompleksi, kas piemēroti dažāda vecuma bērniem, vingrošanas pilsētiņas un tīklu piramīdas. Kā arī lauku un meža takas, šķēršļu takas un piedzīvojumu takas!

Visas bērnu iekārtas tiek projektētas, ražotas un uzstādītas, ievērojot bērnu drošības standartu EN 1176. Pēc nepieciešamības, veicam pēcuzstādīšanas pārbaudi mūsu izbūvētajos objektos, pasūtītājam iesniedzot eksperta atzinumu par laukuma izmantošanu.

Spiežot TE bērnu rotaļu laukumu iekārtas privātmāju pagalmiem.  

bērnu rotaļu laukumi

Sports

Uzlabojiet savu ķermeņa tonusu ar Latvijā ražotām iekārtām.

Mūsu piedāvājumā - āra/brīvdabas trenažieri, metāla ielu vingrošanas iekārtas, daudzveidīgi vingrošanas kompleksi, koka-metāla vingrošanas iekārtas Ja Jūs interesē rampas vai arēnas - sazinieties ar mums vai gaidiet informāciju mājaslapā.

Pilsētas un parka aprīkojums

Lai kāds arī būtu cilvēks un, lai kā arī viņš pavadītu savu brīvo laiku, ik dienu viņš iziet savas pilsētas ielās un lūkojas uz tās izmaiņām, kustību un seju. Tādēļ ir svarīgi, kā izskatās un kā ir apbūvēti parki un rajoni, kuros mūsdienu cilvēki pavada lielāko savas dzīves daļu.

MK Dizains izstrādā koka / metāla konstrukcijas ar dažādiem pārklājumiem, lai pilsētu padarītu funkcionālāku un dotu tai neatkārtojamu stilu.

Mājai un Dārzam

Piedāvājam visu jūsu dārza labiekārtošanai - bērnu rotaļu laukumiņi privātmāju pagalmiem, koka dārza mēbeles, koka lapenes un nojumes, dārza mājas

AS Gailis 1P

Apraksts:

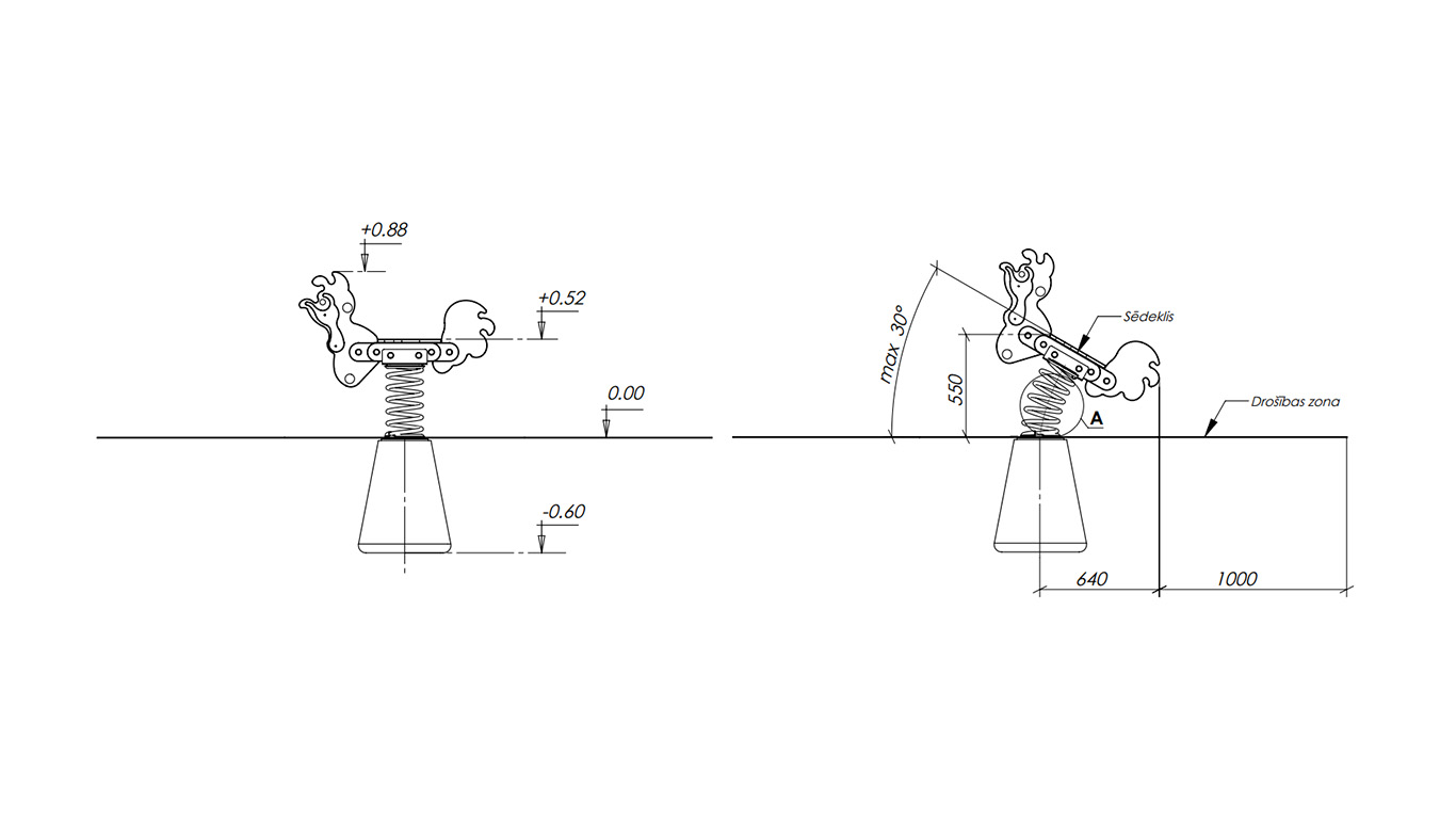
Iekārta paredzēta 1 bērnam vecumā no 2 līdz 7 gadiem. Karkass gaiļa formā. Pamatnē cinkota atspere ar betonēšanas enkuru. 

Materiāli un apdare:

  • Pamata konstrukcijā īpaši noturīgs HDPE plastikāts ar augstu noturību pret UV starojuma iedarbību (izbalēšanu).
  • Atspere no karsti cinkota tērauda, krāsota ar pret laikapstākļiem un mehāniskiem bojājumiem noturīgu krāsu.
  • Savienojumos cinkotas skrūves, kas nosegtas ar plastmasas uzlikām, lai novērstu bērnu savainošanās risku.
Vecuma grupa: 2-7 gadi
Lietotāju skaits: 1 bērns
Garums: 1050 mm
Platums: 280 mm
Augstums: 880 mm
Krišanas augstums: 550 mm
Drošības zona: 3280x2280 mm
Drošības standarts: EN 1176-1:2018; EN 1176-6:2018

Failu lejupielāde

Piedāvājam rotaļu laukumu kompleksu un aprīkojuma izstrādi.

SIA MK Dizains projektē un ražo bērnu rotaļu laukumu aprīkojumu, ka arī sadarbojas ar vairākiem ārzemju ražotājiem, lai piedāvātu saviem klientiem vislabāko un piemērotāko produktu. Ir iespējama arī iekārtu individuālā projektēšana un ražošana, pamatojoties uz mūsu un jūsu kopīgajām idejām. Lai saņemtu detalizētāku informāciju, lūdzu, sazinieties ar mums.

MK Dizains
MK Dizains
  • Dārza mēbeļu komplekts Elegants Dārza mēbeļu komplekts Elegants
  • Saules namiņš SN 1 Saules namiņš SN 1
    • Sērija: Saules namiņš
    • Nosaukums: Mazais Saules namiņš 1
    • Kods: SN 1
    • Sērija: Saules namiņš
    • Nosaukums: Mazais Saules namiņš 1
    • Kods: SN 1
    • Vecuma grupa: 3+
    • Lietotāju skaits: 4
    • Tehniskā informācija:
    • Garums: 4870 mm
    • Platums: 2990 mm
  • Dārza mēbeļu komplekts Masīvs Dārza mēbeļu komplekts Masīvs
  • Lapene 4S-3x3m-02 Lapene 4S-3x3m-02
    • Lapenes izmēri: 3 x 3 m
    • Lapenes augstums: 2,20 m
    • Lapene paredzēta: 8 – 10 personām
    • Lapenes izmēri: 3 x 3 m
    • Lapenes augstums: 2,20 m
    • Lapene paredzēta: 8 – 10 personām
    • Kods: 4S-3X3M-02
  • Dārza mēbeļu komplekts Elegants Dārza mēbeļu komplekts Elegants
  • Saules namiņš SN 1 Saules namiņš SN 1
    • Sērija: Saules namiņš
    • Nosaukums: Mazais Saules namiņš 1
    • Kods: SN 1
    • Sērija: Saules namiņš
    • Nosaukums: Mazais Saules namiņš 1
    • Kods: SN 1
    • Vecuma grupa: 3+
    • Lietotāju skaits: 4
    • Tehniskā informācija:
    • Garums: 4870 mm
    • Platums: 2990 mm
  • Dārza mēbeļu komplekts Masīvs Dārza mēbeļu komplekts Masīvs
  • Lapene 4S-3x3m-02 Lapene 4S-3x3m-02
    • Lapenes izmēri: 3 x 3 m
    • Lapenes augstums: 2,20 m
    • Lapene paredzēta: 8 – 10 personām
    • Lapenes izmēri: 3 x 3 m
    • Lapenes augstums: 2,20 m
    • Lapene paredzēta: 8 – 10 personām
    • Kods: 4S-3X3M-02
  • Rotaļu laukums STANDART 01 12 010 Rotaļu laukums STANDART 01 12 010
    • Funkcijas: slidēšana, kāpelēšana, šūpošanās
    • Garums: 5200 mm
    • Platums: 3830 mm
    • Funkcijas: slidēšana, kāpelēšana, šūpošanās
    • Garums: 5200 mm
    • Platums: 3830 mm
    • Augstums: 2800 mm
    • Platforma: H 1200 mm
    • Slidkalniņš: H 1200 mm, L 2550 mm
  • GARANTIJA, INDIVIDUĀLA PIEEJA, ELASTĪGAS CENAS

    Projektēšana

    Plānošana
    un projektēšana

    Uzlabot teritoriju apkārt mājai, labiekārtot parku, izveidot bērnu rotaļu laukumu vai sporta kompleksu zem atklātas debess – viss sākas ar projektu.

    Izgatavošana

    Iekārtu
    izgatavošana

    Kompānija MK Dizains – iekārtu ražotājs pilsētai: parkiem, bērnu laukumiem, pastaigu un tirdzniecības zonām, atpūtas zonām, sporta objektiem, ieejas grupām. Mēs izgatavojam aprīkojumu pilsētvides uzlabošanai, komfortablai atpūtai, sporta nodarbībām.

    Montāža

    Iekārtu montāža

    Jebkuras mūsu izgatavotās iekārtas – no bērnu laukumu komplektiem līdz kompleksiem PARKOUR – MK Dizains speciālisti ir gatavi sagatavot un uzstādīt pasūtītāja laukumā.

    eraf

    SIA "MK DIZAINS" ir noslēgusi līgumu Nr.SKV-L-2021/451 (no 23.12.2021) ar Latvijas Investīciju un attīstības aģentūru par atbalsta saņemšanu pasākuma “Starptautiskās konkurētspējas veicināšana” ietvaros, ko līdzfinansē Eiropas Reģionālās attīstības fonds.

    Paziņojums par sīkdatnēm

    Informējam, ka šajā tīmekļa vietnē tiek izmantotas sīkdatnes. Turpinot lietot šo vietni vai nospiežot pogu “Piekrītu”, Jūs piekrītat izmantot sīkdatnes. Jūs varat atcelt savu piekrišanu jebkurā laikā, mainot pārlūka iestatījumus un izdzēšot saglabātās sīkdatnes. Uzzināt vairāk

    Piekrītu